| kW | Hz | RPM | V | Kg | Cooling |
|---|---|---|---|---|---|
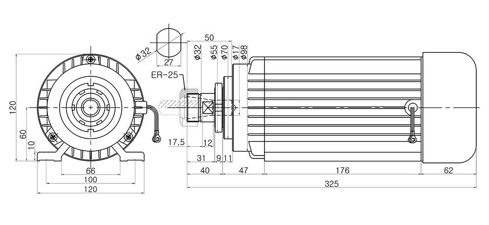
| 2.2kW | 300Hz | 18000RPM | 220V용, 380V용 | 10.5Kg | 공냉식 |
첨부파일
-
LHM2F220-C.dwg (137.9K)
29회 다운로드 | DATE : 2024-11-12 11:54:57
- 이전글LHM4G150-C 24.11.11
- 다음글LHM4G220-C 24.11.11


